Расчет и проектирование крыла СЛА
Конструкция крыла СЛА
Независимо от размеров, схемы и назначения самолета его крыло всегда состоит из каркаса и обшивки.
Силовой каркас включает в себя продольный и поперечный силовые наборы.
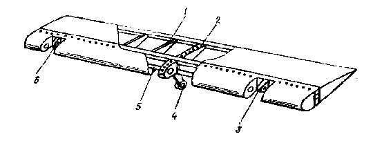
К продольному набору гипотетического крыла (рис. 4. 1)
Рис 4.1 Конструктивная схема двухлонжеронного крылаотносятся основной 8 и дополнительный 2 лонжероны, продольные стенки 3 и стрингеры 7.
Лонжероном называется мощный продольный элемент (балка), воспринимающий изгибающий момент и поперечную силу. В составе замкнутого контура его стенка воспринимает и крутящий момент.
Продольной стенкой будем называть элемент, проложенный вдоль всего размаха крыла или на отдельных его участках и воспринимающий поперечную силу. В некоторых случаях стенка может иметь относительно слабые пояса. Стенки обычно прокладываются в носовой и, чаще, хвостовой частях крыла. Соединяя верхнюю и нижнюю обшивку крыла, стенки совместно с обшивкой образуют в поперечном сечении крыла замкнутый контур, который может воспринимать крутящий момент. Продольные стенки, расположенные в хвостовой части 3, 4, обычно используют для крепления элеронов и механизации крыла.
Стрингером называют продольный элемент, воспринимающий местные воздушные нагрузки и подкрепляющий обшивку. Совместно с прилегающей жесткой обшивкой, растяжением-сжатием, он может частично воспринимать и изгибающий момент.
К поперечному набору крыла относятся нормальные (типовые) 9 и силовые 6 нервюры.
Нормальные нервюры представляют собой тонкостенные балки со слабыми поясами. Они сохраняют заданную форму профиля крыла и передают местные воздушные нагрузки со стрингеров и обшивки на лонжероны и стенки.
Силовые нервюры предназначены для восприятия сосредоточенных сил и моментов от элеронов, механизации крыла, других агрегатов, крепящихся к крылу, и передачи их на основные силовые элементы крыла. Силовые нервюры, выполняя функции и нормальных нервюр, загружают замкнутый контур обшивки крыла потоком касательных напряжений.
Обшивка придает крылу заданную форму, непосредственно воспринимает воздушную нагрузку и передает ее на стрингеры и нервюры. Она может быть как жесткой, так и мягкой. Жесткая обшивка, в составе замкнутого контура, воспринимает действующий на крыло крутящий момент. Может участвовать в восприятии и изгибающего момента крыла.
В некоторых конструктивно-силовых схемах крыла те или иные элементы силового набора могут отсутствовать.
Выбор конструктивно-силовой схемы крыла
Спроектировать крыло-это значит:
- выбрать его конструктивно-силовую схему
- построить эпюру поперечных сил и изгибающих моментов, действующих на консоль
- определить сечения и места расположения лонжеронов, стенок, стрингеров, нервюр, стыковочных узлов, агрегатов и люков подхода к ним
- предусмотреть каналы для прокладки элементов системы управления
- проработать вопросы сочленения всех элементов конструкции
- вычертить крыло в масштабе с указанием необходимых для изготовления размеров
- произвести проверочный расчет основных силовых элементов
Определение нагрузок, построение эпюр поперечных сил и изгибающих моментов
Обычно расчет крыла на прочность производится в следующем порядке:
- строятся эпюры поперечной силы и изгибающего момента от массовых сил крыла
- строятся эпюры поперечной силы и изгибающего момента от аэродинамических сил при максимальной перегрузке самолета с учетом коэффициента безопасности
- строится результирующая эпюра поперечных сил и изгибающих моментов как алгебраическая сумма двух предыдущих эпюр
- производится расчет элементов крыла (полок и лонжеронов, толщины обшивки и т. д.) для контрольных сечений по размаху крыла
Указанная выше последовательность расчета достаточно трудоемка и ее можно значительно упростить, если считать, что аэродинамическая нагрузка и масса крыла вдоль его размаха распределяются пропорционально хорде. Такое допущение не является грубым и на конечный результат расчета существенного влияния не оказывает.
С учетом изложенного выше расчет крыла СЛА на прочность можно производить в такой последовательности:
1. Определяется взлетная масса СЛА без крыла

где m

- масса крыла во втором приближении.
2. Определяется сила воздействия крыла на фюзеляж (с учетом коэффициента безопасности) при максимальной эксплуатационной перегрузке

где n

- максимальная эксплуатационная перегрузка; g=9,8 м/с2-ускорение свободного падения;m

- взлетная масса СЛА, без крыла, кг.
Сила, полученная по формуле (4. 5), выражена в ньютонах. Однако для дальнейших расчетов ее удобно перевести в килограммы силы (разделив на 9,8), так как моменты инерции и моменты сопротивления сечений балок практически во всех справочниках приводятся в см
4 и см
3 соответственно.
3. По результатам аэродинамического расчета вычерчивается в масштабе консоль крыла при виде в плане и виде спереди. После чего консоль разбивается на несколько (5... 10) участков.
Силу, действующую на любой из указанных участков, можно определить по формуле

где Р
в-сила, полученная по формуле (4. 5)
S - площадь крыла в плане; S

-площадь рассматриваемого участка.
Сила P

-это равнодействующая аэродинамических сил, действующих на участок, и должна быть приложена в центре площади этого участка вдоль размаха и на линии 25% хорд крыла.
4. Строится эпюра поперечной силы Q. Построение начинается со свободного конца консоли и выполняется путем суммирования по сечениям сил P
i уч.
5. Строится эпюра изгибающих моментов крыла.
Если консоль крыла имеет форму прямоугольника или трапеции, то поперечную силу Q и изгибающий момент М

в любом сечении крыла можно определить по формулам, приведенным в табл. 3. 9.
Таблица 3.9 Определение поперечной силы и изгибающего момента
Полученные значения поперечной силы Q и изгибающего момента М

для каждого из контрольных сечений являются исходными для определения геометрических размеров полок и стенки лонжерона.
Расчет и проектирование однолонжеронного свободнонесущего крыла
Проектирование крыла начинается с вычерчивания его внешней формы, мест стыковки, расположения элеронов и механизации, с учетом геометрических размеров, полученных в результате аэродинамического расчета. На виде крыла сверху и его сечениях отмечаются места расположения лонжерона и стенок.
При размещении лонжерона приходится принимать во внимание высоту профиля в месте его установки, положение центра жесткости сечения и жесткость крыла на кручение. Практика показывает, что у однолонжеронного крыла оптимальным является расположение оси лонжерона на 25... 30% у обычных и 35... 40% хорды у ламинаризированных профилей. Задняя стенка прокладывается с учетом удобства крепления элеронов (интерцепторов) и средств механизации крыла.
Далее отмечаются места установки бортовых и концевых нервюр, а также силовых нервюр для узлов крепления элеронов, механизации и агрегатов, расположенных в крыле. Определяется необходимое количество типовых нервюр с таким расчетом, чтобы расстояние между нервюрами было в пределах 18... 25 см. Затем для нескольких (5... 10) контрольных сечений производится расчет полок и стенок лонжерона
Если бы линия центров давления крыла совпадала с осью жесткости, в данном случае с осью лонжерона, то под воздействием воздушной нагрузки происходил бы только сдвиг и изгиб консоли крыла. В общем случае (рис. 4. 2) центр давления не совпадает с центром жесткости, что неизбежно ведет к закручиванию крыла. Поэтому кроме расчета крыла на сдвиг и изгиб необходимо производить расчет крыла и на кручение. Этот расчет производится для двух предельных случаев положения центра давления:
Рис 4.2 Схема сил, вызывающих кручение крыла
а - в случае "А", б - в случае "Б"
а) случая "А" - когда центр давления (рис. 4. 2, а) находится на 30% хорды крыла, а подъемная сила определяется по формуле

где G

-вес самолета;
б) случая "В"-когда центр давления (рис. 4. 2, б) находится на 50% хорды крыла, а подъемная сила определяется по формуле

Для упрощения расчета целесообразно, для обоих случаев нагружения, определить крутящие моменты только в плоскости бортовой нервюры, а затем в качестве расчетного выбрать больший из них.
Определение крутящих моментов при этом осуществляется по формуле

где положение центра давления

=0, 36 для случая "А" и

=0, 56 для случая "В"; за величину

берется расстояние от носка хорды до оси лонжерона.
Если разница абсолютных величин моментов для двух указанных случаев велика, то целесообразно лонжерон сместить так, чтобы они стали примерно равными. Величину крутящих моментов для других контрольных сечений можно считать уменьшающейся по линейному закону, до нуля в конце консоли.
Крутящий момент у однолонжеронного крыла воспринимается замкнутым контуром, образованным жестким носком и стенкой лонжерона. В связи с этим проектировочный расчет крыла на кручение сводится к определению толщин обшивки носка, при которых для каждого из рассматриваемых контрольных сечений напряжения сдвига будут меньше критических, то есть, будет выполняться условие

<

Вызванное кручением напряжение в материале носка определяется по формуле

где M

-крутящий момент, кгс см; F-площадь контура, см
2;

-толщина обшивки, см.
Площадь контура F легко определяется по приближенной формуле

где L

-ширина, a h-высота контура носка.
Критические напряжения можно определять по формуле

где R - наибольший радиус кривизны профиля носка, определяется геометрическим построением (рис. 4.3);

-толщина обшивки носка; b-расстояние между нервюрами.
Величина

в зависимости от отношения сторон пластины, ограниченной нервюрами и полками лонжерона, определяется по формуле

где а-периметр контура носка без учета высоты стенки лонжерона.
Для определения необходимой толщины обшивки носка задаются рядом значений

, определяют величины

и


сравнивают их и находят минимальное значение

, при котором выполняется условие

<


.
Если потребная толщина обшивки оказывается достаточно большой, то возникает необходимость увеличения общего числа нервюр на рассматриваемом участке или постановки ложных нервюр в носке крыла. Необходимо при этом стремиться к оптимуму, когда суммарная масса обшивки и нервюр минимальна.
Критические напряжения, возникающие в обшивке, можно также существенно увеличить за счет прокладки стрингера 7 (рис. 4. 1) в месте наибольшего радиуса скругления обшивки носка.
Несмотря на то, что скручивание крыла СЛА вызывает напряжения сдвига и в стенке лонжерона, оно не требует изменения ее толщины. Это объясняется тем, что в рассмотренном ранее случае "А" потоки касательных напряжений направлены навстречу друг другу, то есть вычитаются, а в случае "В" их сумма оказывается существенно ниже допустимой из условия сдвига крыла.
Поперечный силовой набор крыла составляют силовые и типовые нервюры. Силовые нервюры могут быть ферменными или балочными. Типовые нервюры СЛА при небольших удельных нагрузках на крыло (рис. 4. 1) могут быть и бесстеночными. Применение таких нервюр в конструкции двухлонжеронного крыла дает выигрыш в массе конструкции, позволяет упростить решение вопросов сочетания продольного и поперечного силового наборов и снизить трудозатраты на их изготовление.
В местах установки элеронов между силовыми нервюрами необходимо проложить стенку, которая может быть использована для установки узлов их крепления.
Законцовку крыла с плавными обводами лучше изготавливать с использованием пенопласта
Особенности расчета и проектирования однолонжеронного крыла с трубчатым лонжероном
Расчет крыла с тонкостенным трубчатым лонжероном сводится к его расчету на совместное действие изгиба и кручения.
К началу расчета трубчатого лонжерона необходимо знать геометрические размеры и характеристики материалов имеющихся в наличии труб. При этом необходимо иметь в виду, что диаметр трубы, которая должна проходить около фюзеляжа, должен составлять 0, 65... 0, 82 от максимальной высоты профиля крыла. При меньших диаметрах масса лонжерона, а значит, и всего крыла будет существенно больше массы балочного лонжерона.
В качестве контрольных сечений при построении эпюр крутящих моментов выбираются сечения в местах перехода с большего на меньший диаметр трубы. Обязательно проверяется сечение по бортовой или осевой нервюре крыла. При наличии подкосов-в местах их крепления к крылу.
Первоначально из имеющегося сортамента для каждого контрольного сечения выбирается такая труба, у которой момент сопротивления на данном участке на 10... 15 % больше потребного из условия изгиба. При этом момент сопротивления определяется по формуле

где D

-диаметр средней линии кольца;

-толщина стенки трубы.
Прочность трубчатого лонжерона на совместное действие изгиба и кручения будет обеспечена при выполнении условия [4]

где
u и
кр определяются соответственно по формулам (3. 10) и (3. 6);
для труб из сплава Д-16Т

для стальных труб

для любого материала

Стыковку трубчатого лонжерона лучше всего производить по схеме, представленной на рис. 4. 4, а. Однако при ограниченном сортаменте имеющихся в наличии труб это не всегда удается. Тогда при стыковке труб различных диаметров используются переходные вставки (рис. 4. 4, б, в), которые одновременно могут выполнять функции фланцев для крепления силовых нервюр. Расчет участков, передающих усилия с одной трубы на другую, производится из условия среза и смятия заклепок аналогично расчету хвостовиков стыковочных узлов .
Рис 4.4 Способы стыковки трубчатого лонжерона
а - обычный, б - со вставкой, в - со вставкой, выполняющей функцию фланца силовой нервюры
Так как все силовые нагрузки в рассматриваемом крыле приходятся на трубчатый лонжерон, то обшивка такого крыла может быть выполнена из ткани или пленки. Это относится и к двухлонжеронному крылу.
При относительно больших удельных нагрузках вместо обшивки можно использовать трехслойные панели. Такие панели с небольшими затратами труда можно изготовить из двух тонких листов стеклотекстолита с проложенной между ними пластиной пенопласта в качестве заполнителя. При толщине заполнителя 0, 5... 0, 8 см прочность и особенно жесткость панели оказывается настолько высокой, что отпадает необходимость установки типовых нервюр. В этом случае в силовой набор крыла (рис. 4. 5) войдет лишь трубчатый лонжерон 4, силовые нервюры 3, трехслойная обшивка 5 и стенка 1, устанавливаемая в местах крепления элеронов 2 и средств механизации крыла.
Рис 4.5 Конструктивная схема однолонжеронного крыла с трубчатым лонжероном
Если панель не является сплошной для всего контура профиля, то сверху и снизу лонжерона (или в других местах контура) могут прокладываться деревянные подушки для крепления панелей, выполненные в виде продольных элементов крыла.
Особенности расчета и проектирования двухлонжеронного крыла
Последовательность расчета и проектирования двухлонжеронного крыла (рис. 4.1) в основном соответствует последовательности, описанной для однолонжеронного крыла. Однако появляется ряд трудностей, связанных с расчетом жесткостей лонжеронов, их расположением по хорде и особенно расчетом крыла на кручение.
Для получения равенства крутящих моментов в случаях "А" и "В" (рис. 4. 2) необходимо, чтобы расстояния между центром жесткости и точками приложения сил были обратно пропорциональны действующим в этих случаях силам. Положение центра жесткости относительно хорды можно изменять как смещением лонжеронов, так и подбором их моментов инерции.
Практика конструирования показывает, что при оптимальном отношении моментов инерции лонжеронов J
з/J
п=0, 60... 0, 65 (где J
з- момент инерции заднего, а J
п-момент инерции переднего лонжерона) лонжероны целесообразно располагать: передний на 15... 25%, а задний на 50... 60% хорды крыла. При принятом расположении лонжеронов центр жесткости располагается на 25... 30% хорды, а масса замкнутого контура, воспринимающего крутящий момент, будет минимальной. Определение толщины обшивки из условия расчета крыла на кручение - этап более сложный, чем у однолонжеронного крыла. Это объясняется тем, что стенками лонжеронов профиль крыла разбивается на три замкнутых контура (рис. 4.6, а), каждый из которых воспринимает крутящий момент, пропорциональный его жесткости. Кроме того, часть крутящего момента воспринимается депланацией (прогибом в противоположные стороны) и скручиванием лонжеронов.
Рис 4.6 Схемы контура крыла, воспринимающих кручение
ф - действительная, б - принятая для расчета
Для упрощения расчета можно поступить следующим образом:
- считать, что крутящий момент воспринимается только контурами носка и межлонжеронной части крыла (рис. 4.6, б)
- для выбранной (желательно минимально возможной) толщины обшивки носка 6 определяется воспринимаемый контуром носка крутящий момент

где критическое напряжение 
определяется по формуле (4. 11)
- определяется крутящий момент, который должен быть воспринят контуром межлонжеронной части крыла, как разность момента, скручивающего крыло, М
и момента, воспринимаемого контуром носка, М 
- определяется потребная толщина обшивки
межлонжеронной части крыла
При этом необходимо учитывать, что вследствие различных радиусов кривизны верхней и нижней частей профиля крыла, критические напряжения, а значит, и толщины их обшивки будут различными. Более толстой будет обшивка нижней части крыла.
Обшивка части крыла, расположенной позади дополнительного лонжерона, обычно выполняется несиловой и изготавливается из ткани или пленки.
Особенности расчета и проектирования подкосного крыла
При конструировании СЛА во многих случаях оказывается целесообразным использование подкосного крыла, так как некоторое уменьшение аэродинамического качества самолета, за счет сопротивления подкосов, на малых скоростях с избытком компенсируется уменьшением массы лонжеронов крыла. Кроме того, подкосное крыло оказывается более жестким, то есть уменьшаются его прогибы и углы закручивания под воздействием аэродинамической нагрузки.
Расчет подкосного крыла производится в следующем порядке:
- вычерчивается в масштабе консоль крыла (рис. 4. 7) с подкосом при виде спереди с указанием погонной нагрузки:

- определяются реакции в местах крепления подкоса к крылу (точка П) и крыла к фюзеляжу (точка Ф) по формулам

где lп-расстояние между узлами крепления консоли
- строятся эпюры поперечной силы и изгибающего момента
- для выбранных контрольных сечений определяются сечения полок и толщины стенок лонжеронов
Эпюры поперечной силы и изгибающего момента имеют вид, представленный на рис. 4. 7. Как видно из этого рисунка, максимальные значения поперечной силы и изгибающего момента совпадают с точкой крепления подкоса. Отрезок лонжерона, расположенный между узлом крепления подкоса и узлом крепления фюзеляжа, загружен изгибающим моментом существенно меньше, чем в точке "П". Однако этот же участок лонжерона дополнительно загружается сжимающей силой Рл за счет силового воздействия подкоса. Это в свою очередь требует некоторого увеличения площади сечения верхней полки лонжерона и проверки ее на устойчивость.
Расчет подкосного крыла можно существенно упростить, если сечения лонжерона между точками крепления подкосов выдерживать постоянными. Это возможно, так как сжимающие усилия, возникающие в полках лонжерона под воздействием подкосов, меньше усилий, вызванных изгибом крыла, и полностью компенсируются уменьшением (на этом участке) изгибающего момента по сравнению с точкой "П".
Если предложенная рекомендация автором проекта принята, то эпюры поперечной силы и изгибающего момента строятся только для консольной части крыла. Усилия, действующие вдоль оси подкоса, определяются по формуле

где

- угол между осью лонжерона и осью подкоса. Если подкос в верхней части имеет разветвление и крепится к узлам, разнесенным вдоль хорды, то он разгружает центральную часть крыла не только от сдвига и изгиба, но и от крутящего момента.
При нижнем расположении крыла, когда подкосы при положительной нагрузке работают на сжатие, расчет производится аналогично описанному, только подкосы обязательно проверяются из условия обеспечения устойчивости.
Коэффициент безопасности f для подкоса выбирается равным 1,5, а для его узлов крепления-не менее 2.
Расчет и проектирование элеронов
Геометрические размеры и форма элеронов СЛА определяются в процессе его аэродинамического расчета.
С точки зрения строительной механики элерон представляет собой двух- или многоопорную балку, работающую на сдвиг, изгиб и кручение. Поэтому в состав его силового набора (рис. 4. 8) обязательно должен входить продольный элемент, чаще всего лонжерон 5, воспринимающий поперечную силу, изгиб, а в некоторых случаях - и кручение. В состав поперечного силового набора входят типовые 1 и не менее одной силовой нервюры 2, предназначенной для подсоединения узла 4 проводки системы управления и загрузки замкнутого контура профиля элерона крутящим моментом.
Рис 4.8 Конструкция элерона с подольным и поперечным силовым набором
На СЛА часто используют элероны с тонкостенным трубчатым лонжероном 2 (рис. 4. 9), с встроенными в него узлами подвески 1, 5 в сочетании с пенопластовыми блоками 3, вырезанными по профилю контура элерона и обклеенными слоем стеклоткани 4. Такие элероны просты для расчета, имеют небольшую массу я достаточно технологичны.
Рис 4.9 Конструкция элерона с трубчатым лонжероном и пенопластовым заполнителем
Для крепления элеронов выгодно использовать быстросъемные узлы, показанные на рис. 4. 10. Такой узел состоит из кронштейна с окном 1, закрепленного на силовой нервюре крыла 2, пластины 5 с втулкой 4 для внешней обоймы подшипника 3, винта крепления пластины 7 и стопорящего винта 6. Использование описанного узла, кроме эксплуатационных удобств, не требует установки лючков для подхода к узлам крепления. Для снятия элерона достаточно отсоединить проводку управления, отклонить элерон, отвернуть винты 6 и 7 крепления пластины 5 и сдвинуть его назад.
Рис 4.10 Быстроразьемные элементы крепления рулевых поверхностей
Нагрузку (в кгс), действующую на элерон, с достаточной степенью точности можно определить по формуле

где V
mах-максимальная скорость полета, м/с.
Погонная нагрузка вдоль элерона распределяется пропорционально его хордам. Но так как в большинстве случаев разница величин хорд элерона невелика, то с достаточной степенью точности можно считать нагрузку равномерно распределенной по размаху. Такое допущение, не являясь грубым, существенно упрощает расчет элерона.
Конечным этапом расчета является определение сечений лонжерона, способных воспринять поперечную силу и изгибающий момент, а при отсутствии замкнутого контура - и кручение.
Расчет элерона производится в следующем порядке:
- вычерчивается в масштабе элерон при виде спереди с указанием погонной нагрузки
- определяются реакции в узлах подвески
- строятся эпюры поперечной силы, изгибающего и крутящего моментов
- определяются потребные сечения элементов конструкции
Кручение элерона воспринимается жестким носком или коробчатым лонжероном. Зашивать фанерой или стеклотекстолитом весь контур элерона, выполненного из пенопласта, нецелесообразно с точки зрения его весовой компенсации. Более приемлемым является его армирование -оклейка стеклотканью с эпоксидным компаундом.
Рычаг управления элероном устанавливается по возможности ближе к его середине. В некоторых случаях этого правила можно не придерживаться, но необходимо помнить, что это не скажется на массе лонжерона лишь при большой его жесткости на кручение, например при применении трубчатого лонжерона.
Для ускорения процесса построения эпюр поперечной силы и изгибающего момента можно воспользоваться табл. 3.9.
При построении эпюры крутящего момента следует считать, что точка приложения равнодействующей аэродинамической нагрузки приложена на 42% средней хорды элерона.
по материалам: П.И.Чумак, В.Ф Кривокрысенко "Расчет и проектирование СЛА"
Подробнее о конструкциях реальных самолетов смотрите в электронных книгах:
Цельнометаллические самолеты:
Стеклопластиковые самолеты:
Деревянные самолеты:
Самолеты смешанной конструкции: